Призначення
Використання на космічних апаратах, що завершили свій термін активного існування, для відведення їх з орбіти та зменшення зростання середовища космічного сміття.
Технічні характеристики
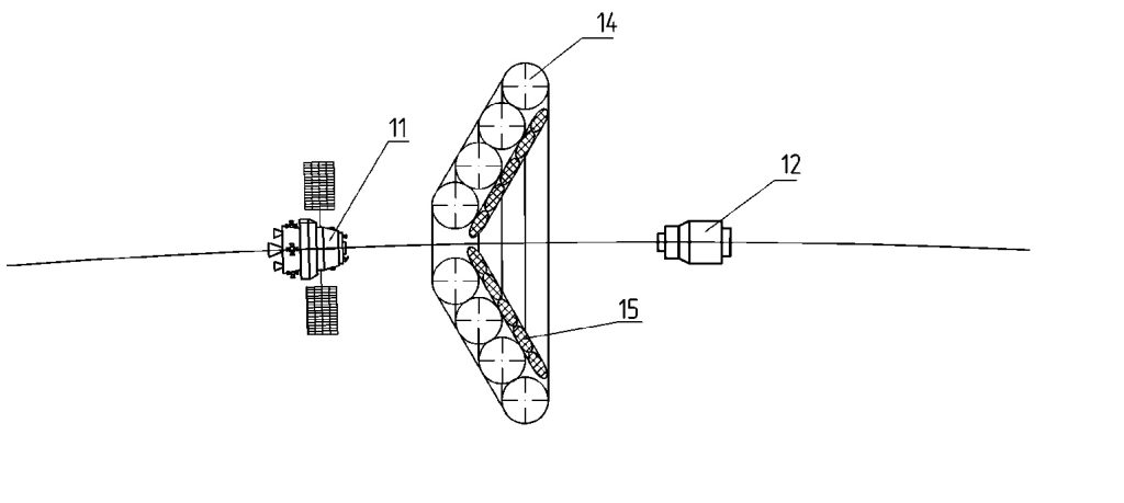
Для захоплення і подальшого усунення з орбіти некооперованих фрагментів космічного сміття запропоновано аеродинамічний пристрій, що формується зовнішнім шаром тороїдальних оболонок, які утворюють конічну поверхню, та внутрішнім шаром, який за рахунок примусового наддуву або вспінювання аерогелю фіксує фрагмент космічного сміття до сходу його з орбіти (рис. 1 – 3).

10 – розгінний блок
11 – космічний апарат-сміттяр
12 – комічний об’єкт, що уводиться з орбіти
А – орбіта космічний апарата-сміттяра
Б – орбіта комічного об’єкта, що уводиться з орбіти
Рис. 1 Схема виведення ракетою-носієм космічного апарата-сміттяра


Переваги
Збільшення ефективності усунення космічного об’єкта з орбіти та зменшення затрат бортової енергії на усунення космічного об’єкта з орбіти.
Рівень готовності розробки. Пропозиції для комерціалізації.
IRL 2. TRL 2. Проведено науково-дослідну роботу щодо визначення ефективності запропонованого технічного рішення.
Охорона інтелектуальної власності
IPR 3
| Контактна інформація: | |
| Інститут технічної механіки | НАН України і ДКА України |
| Україна 49005 м. Дніпро вул. Лешко-Попеля, 15 | |
| Контактна особа: | Алпатов Анатолій Петрович |
| Тел. | (056) 372 06 40 |
| E-mail: | Office.itm@nas.gov.ua aalpatov@ukr.net |
| Web: | http://www.itm.dp.ua |

